随着旅游消费升级,用户的消费水平和消费观念转变,更具个性化、贴近生活的民宿备受青睐,民宿行业也持续走热。
针对火热的民宿市场,近日,同程艺龙也正式对外推出了旗下民宿平台“懒猫民宿”(m.elong.com),并上线了独立的微信小程序“懒猫民宿”。
目前,懒猫民宿业务覆盖北上广深、成都、重庆、南京、杭州、西安等国内热门旅游目的地,已经接入了超50万家的特色民宿,未来将覆盖更多中国游客出境旅游的热门目的地,如港澳台、日本、泰国、新加坡等。
据同城艺龙负责人介绍,懒猫民宿是同程艺龙住宿事业群重点孵化项目之一,也是同程网络和艺龙合并后在住宿领域推出的全新子品牌。她其实并不是一个全新组建的团队,两年前成立的艺龙内部孵化的“艺龙有房”(后更名为“住哪儿民宿”)就是懒猫民宿的前身。

这里,我们也不难看出同程艺龙的定位,懒猫民宿作为全新子品牌,未来肯定是要剥离母公司的品牌影响。但是,从域名上来看,懒猫民宿还是没能完全剥离同程艺龙的影响,仍是用二级域名m.elong.com。
对于全新的子品牌而言,独立的品牌域名lanmao.com肯定是比二级域名来的更好。但是很可惜,同程艺龙还是晚了一步,相关域名lanmao.com已经被懒猫金融启用了,其他的像lanmao.cn/.com.cn则同时被“懒猫旅行”收购,作为“懒猫民宿”的竞品,相关域名被对方持有,这是相当危险的。所以说,域名保护要趁早,晚一步都被其他同行下手了,再想买有钱也没用了。

知识产权保护是未来企业的重点工作,这关系到企业的运营。可能是吃了域名的亏,在商标的保护上,同程艺龙就格外注意。
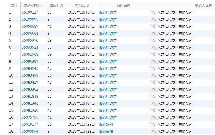
根据查询,北京艺龙信息技术有限公司在2018年11月29日申请了16个“懒猫民宿”商标,有第36类、第39类、第41类、第42类、第9类、第35类、第43类等众多类别的商标,服务范围包括金融保险领域、计算机软件、游戏、教育、餐厅旅馆、旅馆预订等等。

此外,北京艺龙信息技术有限公司还相继注册了其他与“懒猫”相关的商标,像“懒猫短租”、“懒猫周边游”等64个商标,可以看出对于知识产权保护他们是相当重视的。
根据同程艺龙发布的《2019春节黄金周居民出行趋势报告》显示,春节黄金周期间,有15.7%的消费者选择民宿、客栈等非标住宿。
同程艺龙负责人表示,他们正是看中了民宿在旅游行业中具备的巨大市场潜力,所以除了标准类的酒店产品外,同程艺龙未来也在不断加大非标住宿的投入力度,希望可以满足不同用户的多元化需求。
便捷链接:同程艺龙推出懒猫民宿,
本文来源:网络?买卖商标注册授权入驻“天猫”“京东”“拼多多”“抖音头条”“商标百科”
版权说明:上述为转载或编者观点,不代表亿佰倍懂商标意见,不承当任何法律责任
亿佰倍懂商标官方微信
欢迎关注亿佰倍懂
微信号:K58158 热门TAGS
购买上海商标 商标复审 商标撤三答辩 商标驳回复审 国际商标驳回 知名商标转让 白酒商标网 19类商标转让 18类商标转让 17类商标转让 16类商标转让 15类商标转让 14类商标转让 13类商标转让 11类商标转让 12类商标转让 10类商标转让 9类商标转让 8类商标转让 7类商标转让 6类商标转让 5类商标转让 4类商标转让 3类商标转让 2类商标转让 1类商标转让 T恤商标转让 红酒商标转让 黄酒商标转让 水饺商标转让 糖果商标转让 闲置商标转让 商标购买网站 月饼商标转让 购买月饼商标 购买牛奶商标 牛奶商标转让 购买餐饮商标 餐饮商标转让 啤酒商标转让 购买啤酒商标 购买酒类品牌 酒类品牌转让 购买饮料商标 饮料商标转让 食品商标转让 购买食品商标 购买镀膜商标 镀膜商标转让 机油商标转让 购买机油商标 头枕商标转让 购买头枕商标 车衣商标转让 购买车衣商标 购买车贴商标 车贴商标转让 凉垫商标转让 睡袋商标转让 包子商标转让
联系方式
【商标网】
企业QQ:1728988888
手机: 18211558558
官方微信:K58158
广东(总部)北京(分部)深圳(分部)

*截止
,共有人阅读了本文。


40
加工服务