2020年,太丧了!一场新型冠状肺炎让我们看到家庭生离死别,企业濒临倒闭,没想到黑莓手机也要和我们说再见了!

近期,TCL正式宣布将于2020年8月31日正式停手黑莓手机。这也意味着,在中国市场,我们再也看不到黑莓手机了。
黑莓手机的落幕,更多的是因为盛极而衰,就如同当初的诺基亚一样,美人迟暮。
黑莓手机曾被誉为最安全的手机,多次受到国家总统青睐,鼎盛时期拿下全球手机20%的市场份额。
然而在苹果、三星等智能手机品牌崛起之后,手机的核心竞争力不再是硬件,黑莓在外观、人机交互、功能等方面都不太擅长,最终和诺基亚一样,在移动互联网时代掉队了。
黑莓公司在经营不善的情况下,不得不退出手机市场,并与TCL通讯达成授权许可协议。奈何所托非人,TCL并没有让黑莓手机辉煌重现,反而让它停产了。

黑莓手机落幕,意味着一个时代的结束,它除了给我们留下情怀之外,还有商标。
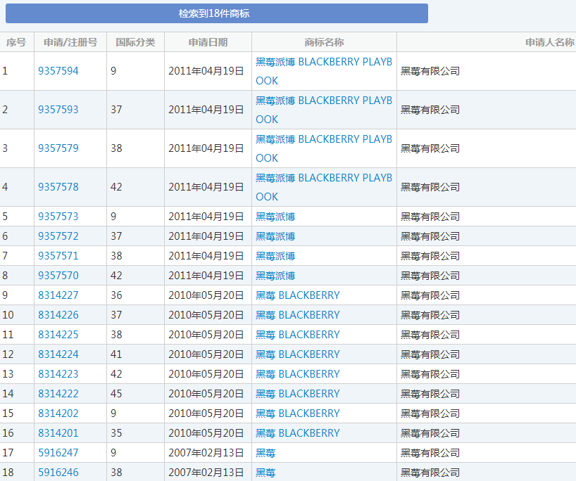
黑莓公司在国内申请了18件“黑莓”系列商标,涵盖9、35、41、42等多个类别。

退出手机市场的黑莓,将专注于网络安全和无人汽车行业的发展。
与此同时,黑莓手上还有大量专利技术,通过专利授权,黑莓的日子应该不会太难过。
如今,新冠肺炎疫情仍在继续,有一些企业的经营状况可能也遇到了问题,一品知识产权为了帮助企业保护品牌生命线,在线发放1000万知识产权补贴金,可供企业保护商标、专利、版权。
同时,我们还提供了价值100万元的四大知识产权特权服务,包含及注册风险评估、商标侵权问诊、专利风险评估等,扫描下方二维码 免费领取

便捷链接:一个时代的落幕:黑莓手
本文来源:网络?买卖商标注册授权入驻“天猫”“京东”“拼多多”“抖音头条”“商标百科”
版权说明:上述为转载或编者观点,不代表亿佰倍懂商标意见,不承当任何法律责任
亿佰倍懂商标官方微信
欢迎关注亿佰倍懂
微信号:K58158 热门TAGS
购买上海商标 商标复审 商标撤三答辩 商标驳回复审 国际商标驳回 知名商标转让 白酒商标网 19类商标转让 18类商标转让 17类商标转让 16类商标转让 15类商标转让 14类商标转让 13类商标转让 11类商标转让 12类商标转让 10类商标转让 9类商标转让 8类商标转让 7类商标转让 6类商标转让 5类商标转让 4类商标转让 3类商标转让 2类商标转让 1类商标转让 T恤商标转让 红酒商标转让 黄酒商标转让 水饺商标转让 糖果商标转让 闲置商标转让 商标购买网站 月饼商标转让 购买月饼商标 购买牛奶商标 牛奶商标转让 购买餐饮商标 餐饮商标转让 啤酒商标转让 购买啤酒商标 购买酒类品牌 酒类品牌转让 购买饮料商标 饮料商标转让 食品商标转让 购买食品商标 购买镀膜商标 镀膜商标转让 机油商标转让 购买机油商标 头枕商标转让 购买头枕商标 车衣商标转让 购买车衣商标 购买车贴商标 车贴商标转让 凉垫商标转让 睡袋商标转让 包子商标转让
联系方式
【商标网】
企业QQ:1728988888
手机: 18211558558
官方微信:K58158
广东(总部)北京(分部)深圳(分部)

*截止
,共有人阅读了本文。


40
加工服务