公布新款无反镜头专利,尼康并未放弃全画幅无反市场。尼康自从在年初公布三款1英寸DL系列无反相机以后,年内再也没有公布过关于无反相机的其他消息。最新款的1系微型单电尼康J5都已经是去年四月的事情了,再加上之前民间各种揣测,基本已论定尼康已经放弃单电市场。就在大家都要失望的时候,忽然又出现了尼康公布新款无反镜头专利。而且更让人兴奋的是,尼康官方承认会继续关注全画幅无反市场。

公布新款无反镜头专利 尼康并未放弃全画幅无反市场
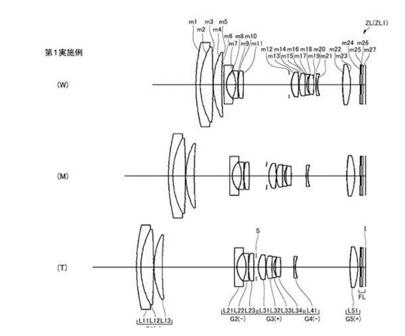
这是一款什么样的镜头呢?9-110mm的焦距,再加上f/2.8到f/5.6的最大光圈并配有VR减震系统,可以大胆猜测它的名字就是“1 尼克尔VR 9-110mm f/2.8-5.6”。尼康的“1 尼克尔镜头”目前只发布了寥寥可数的几款镜头,相信这款新镜头的加入会令这个镜头群倍添光彩——毕竟24-300mm的等效焦距对于旅游党来说实在是完美的走天下佳品。

尼康J5无反相机虽然只是一英寸CMOS的可换镜头相机产品,但胜在本身颜值高且小巧,综合素质在现在来说一点也不落伍。尼康本次对它的镜头群进行更新,也看出了1英寸数码相机还是很受市场关注的。全画幅单电产品虽然是大家最期待的,但对于此时的尼康来说却不一定是最好的市场据地。我们继续安静等待吧,说不定很快就会有消息了。可登入一品标局http://www.epbiao.com/查阅更多专利申请新闻。
温馨提示:文中部分图片来源于网络,版权属于原作者,侵删,谢谢!
便捷链接:尼康公布新款无反镜头专
本文来源:网络?买卖商标注册授权入驻“天猫”“京东”“拼多多”“抖音头条”“商标百科”
版权说明:上述为转载或编者观点,不代表亿佰倍懂商标意见,不承当任何法律责任
亿佰倍懂商标官方微信
欢迎关注亿佰倍懂
微信号:K58158 热门TAGS
购买上海商标 商标复审 商标撤三答辩 商标驳回复审 国际商标驳回 知名商标转让 白酒商标网 19类商标转让 18类商标转让 17类商标转让 16类商标转让 15类商标转让 14类商标转让 13类商标转让 11类商标转让 12类商标转让 10类商标转让 9类商标转让 8类商标转让 7类商标转让 6类商标转让 5类商标转让 4类商标转让 3类商标转让 2类商标转让 1类商标转让 T恤商标转让 红酒商标转让 黄酒商标转让 水饺商标转让 糖果商标转让 闲置商标转让 商标购买网站 月饼商标转让 购买月饼商标 购买牛奶商标 牛奶商标转让 购买餐饮商标 餐饮商标转让 啤酒商标转让 购买啤酒商标 购买酒类品牌 酒类品牌转让 购买饮料商标 饮料商标转让 食品商标转让 购买食品商标 购买镀膜商标 镀膜商标转让 机油商标转让 购买机油商标 头枕商标转让 购买头枕商标 车衣商标转让 购买车衣商标 购买车贴商标 车贴商标转让 凉垫商标转让 睡袋商标转让 包子商标转让
联系方式
【商标网】
企业QQ:1728988888
手机: 18211558558
官方微信:K58158
广东(总部)北京(分部)深圳(分部)

*截止
,共有人阅读了本文。


40
加工服务