据一品标局获悉,近日,美国专利商标局发布了一项关于苹果公司悬浮充电系统专利申请。专利申请文件中指出:“悬浮系统中的悬浮台可能将包括能够探测悬浮物位置和动作的传感器,还能够根据悬浮物的位置来对其方位和动作进行调整”。并且还可以把这种悬浮台用于苹果商店内,用以展示苹果的产品,让消费者有类似身处科幻电影的体验。

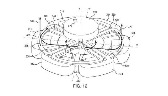
苹果悬浮系统的构造示意图
苹果的专利申请中还对其构造进行了说明。悬浮系统包括一个线圈组成的悬浮台,在通电时可以产生磁场,同时也包括一个产生磁场的、像永久性磁铁一样的物体,当线圈通电后,这一物体可以被磁场悬浮起来。这种悬浮台还可以用于苹果商店内,用以展示苹果的产品,让消费者有类似身处科幻电影的体验。但这样一个磁场系统的旋转可能引起过热的问题。因此,苹果在专利申请文件中注明,这种系统的冷却将借助除空气之外的介质,如水或液氮。由于这只是一项专利申请,此类产品将何时面世尚不清楚。
以上内容来自一品标局(http://www.epbiao.com/)商标注册网整理。一品标局,全国领先的知致力于为广大中小企业提供一站式的商标注册、商标转让、版权登记等服务。欢迎免费咨询!一品标局,为您的知识产权保驾护航!
相关阅读:
专利申请的注意事项
【科普】歌曲版权注册的流程与注意事项
关于欧盟商标注册的那些事--欧盟商标注册费用竟然这么优惠
便捷链接:苹果公司申请悬浮充电专
本文来源:网络?买卖商标注册授权入驻“天猫”“京东”“拼多多”“抖音头条”“商标百科”
版权说明:上述为转载或编者观点,不代表亿佰倍懂商标意见,不承当任何法律责任
亿佰倍懂商标官方微信
欢迎关注亿佰倍懂
微信号:K58158 热门TAGS
购买上海商标 商标复审 商标撤三答辩 商标驳回复审 国际商标驳回 知名商标转让 白酒商标网 19类商标转让 18类商标转让 17类商标转让 16类商标转让 15类商标转让 14类商标转让 13类商标转让 11类商标转让 12类商标转让 10类商标转让 9类商标转让 8类商标转让 7类商标转让 6类商标转让 5类商标转让 4类商标转让 3类商标转让 2类商标转让 1类商标转让 T恤商标转让 红酒商标转让 黄酒商标转让 水饺商标转让 糖果商标转让 闲置商标转让 商标购买网站 月饼商标转让 购买月饼商标 购买牛奶商标 牛奶商标转让 购买餐饮商标 餐饮商标转让 啤酒商标转让 购买啤酒商标 购买酒类品牌 酒类品牌转让 购买饮料商标 饮料商标转让 食品商标转让 购买食品商标 购买镀膜商标 镀膜商标转让 机油商标转让 购买机油商标 头枕商标转让 购买头枕商标 车衣商标转让 购买车衣商标 购买车贴商标 车贴商标转让 凉垫商标转让 睡袋商标转让 包子商标转让
联系方式
【商标网】
企业QQ:1728988888
手机: 18211558558
官方微信:K58158
广东(总部)北京(分部)深圳(分部)

*截止
,共有人阅读了本文。


40
加工服务