大家都知道,敞篷车常让人有安全不足的诟病,尤其在缺少车顶的情况下,连带的也比一般车型少了重要的辅助气帘。不过近日 Porsche 向美国商标局(United States Patent and Trademark Office)申请专利。该专利为一项 A 柱气囊专利,将可望提升不少安全性。

据介绍,目前常见的安全气囊,分别是双前座、侧气帘、膝部气囊等,但在敞篷跑车上却无法使用车侧气帘,因此当发生碰撞时,往往会比有车顶的车款更严重,对此 Porsche 决定在两侧 A 柱加装安全气囊,让敞篷跑车的车主也能得到更好的被动安全。

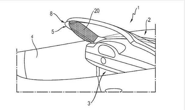
这款安全气囊作动时,将会沿着 A 柱展开。当发生撞击时,这两颗辅助气囊能够减缓驾驶前冲与倒向侧边时的伤害。当然这款安全气囊并不限于敞篷车款专用,而是所有车型都能使用,未来预计会在 Porsche 旗下车款搭载。当然,这种新式 A 柱气囊设计并非只侷限在敞篷车款上,同时也能适用于各种车型,如果未来运用这项专利正式量产后,势必也能提升不少车辆安全。
以上内容来自一品标局(http://www.epbiao.com/ )整理报道。一品标局是中国领先的知识产权服务型网站。致力为您的商标提供全节点管家式服务。平台提供中国商标免费查询、商标公告免费查询、商标注册、商标转让、版权登记等服务,一站式解决商标全方位需求。一品标局提供专业的商标法律咨询,让您的知识产权更有保障!免费查询商标能否注册请点击:http://www.epbiao.com/zt/shangbiaocx/?utm_source=dhl 希望能帮助到各位。
相关推荐:
注册商标的流程
办理商标转让入口
申请程序:是多少
广东汕头海关查获大量假冒注册商标玩具
注册的流程与注意事项
关于欧盟商标注册的那些事--欧盟商标注册费用竟然这么优惠
在中国,
自己可以进行品牌商标注册吗?来听听知识产权顾问是怎么说的
商标那些事┃商标起名大全
8个小妙招,教你机智躲过商标出售陷阱
商标课堂┃5个著名商标的故事,你知道吗?
标局干货│一张图,教你看懂「商标申请」
便捷链接:安全气囊越多越好!Pors
本文来源:网络?买卖商标注册授权入驻“天猫”“京东”“拼多多”“抖音头条”“商标百科”
版权说明:上述为转载或编者观点,不代表亿佰倍懂商标意见,不承当任何法律责任
亿佰倍懂商标官方微信
欢迎关注亿佰倍懂
微信号:K58158 热门TAGS
购买上海商标 商标复审 商标撤三答辩 商标驳回复审 国际商标驳回 知名商标转让 白酒商标网 19类商标转让 18类商标转让 17类商标转让 16类商标转让 15类商标转让 14类商标转让 13类商标转让 11类商标转让 12类商标转让 10类商标转让 9类商标转让 8类商标转让 7类商标转让 6类商标转让 5类商标转让 4类商标转让 3类商标转让 2类商标转让 1类商标转让 T恤商标转让 红酒商标转让 黄酒商标转让 水饺商标转让 糖果商标转让 闲置商标转让 商标购买网站 月饼商标转让 购买月饼商标 购买牛奶商标 牛奶商标转让 购买餐饮商标 餐饮商标转让 啤酒商标转让 购买啤酒商标 购买酒类品牌 酒类品牌转让 购买饮料商标 饮料商标转让 食品商标转让 购买食品商标 购买镀膜商标 镀膜商标转让 机油商标转让 购买机油商标 头枕商标转让 购买头枕商标 车衣商标转让 购买车衣商标 购买车贴商标 车贴商标转让 凉垫商标转让 睡袋商标转让 包子商标转让
联系方式
【商标网】
企业QQ:1728988888
手机: 18211558558
官方微信:K58158
广东(总部)北京(分部)深圳(分部)

*截止
,共有人阅读了本文。


40
加工服务